Beskrivning
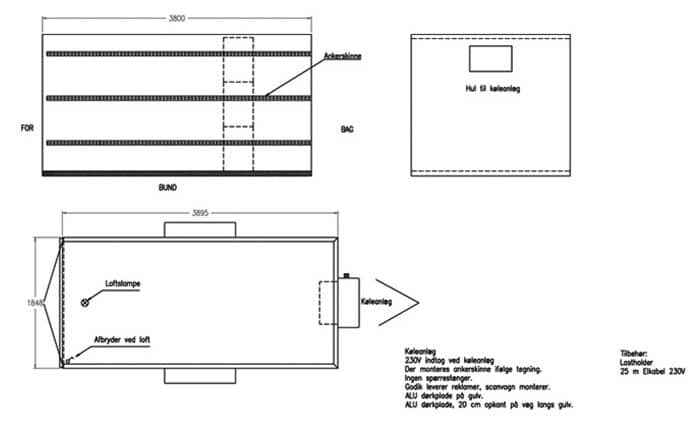
- Mått på utsidan modell 1: H: 265 cm, B: 185 cm, L: 395 cm.
- Mått på insidan modell 1: H: 200 cm, B: 170 cm, L: 378 cm.
- Mått på utsidan modell 2: H: 248 cm, B: 234 cm, L: 420 cm.
- Mått på insidan modell 2: H:181 cm, B: 170 cm, L: 408 cm.
- Kapacitet: 6 EUR-pallar eller 100 termotunnor, lastkapacitet 1 610 kg.
- Elanslutning: 230V 16A CEE-kontakt
- Max. Effektförbrukning: 2000W
- Dragkula: 50 mm
- Egen vikt: 1 090 kg
Inkl. 25 m. strömkabel 230V/16A och 2 låsfästen.












